传动轴跳动量的测量
专用工具
•
GE-7872
磁性座千分表组件
,或同等工具
•
GE-8001
千分表组件
,或同等工具
关于当地同等工具,参见
专用工具和设备
。
注意:
•
本测量程序只用于测量带有 2 个或 3 个万向节的传动轴系统的传动轴跳动量。该测量程序不适用于仅有 1 个万向节或仅有等速万向节和/或联轴节总成的传动轴系统。
•
在测量传动轴的跳动量时,不包括由于焊接或表面不规则造成的千分表的波动。
•
务必检查更换后的传动轴的跳动量。
1.
举升并支撑车辆。若车辆装备整体式驱动桥,确保驱动桥支撑在行驶高度 - 车身由悬架部件所支撑。确保车轮可以自由转动。参见
举升和顶起车辆
。
2.
将变速器挂入空档 (N)。
3.
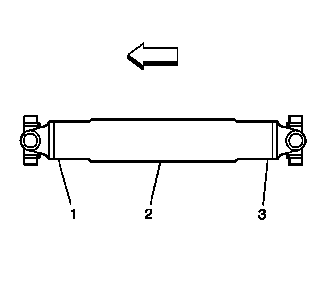
在传动轴前部 (1)、中间 (2) 和后部 (3) 位置上,清除传动轴圆周上的任何碎屑和/或底漆。
4.
检查传动轴是否塌陷、损坏和/或缺失配重。任何塌陷或损坏的传动轴都需要更换。
5.
对于单件式和两件式传动轴系统,将
GE-7872
磁性座千分表组件
或同等工具,或
GE-8001
千分表组件
或同等工具,安装在车身底部或维修支架位置,刚好未碰到焊接在传动轴上的万向节叉处。
6.
在测量传动轴跳动量时,用手转动驱动桥的小齿轮法兰、扭矩管输入法兰、变速器输出法兰或分动箱输出法兰。传动轴向某个方向转动将会更容易。必要时,轮胎和车轮总成甚至是制动钳总成可定位和支撑在一旁,也可将制动鼓从驱动桥拆下,以使传动轴更容易地转动。
7.
对所有传动轴系统,在每个万向节焊接叉位置 (1, 3) 和在每个传动轴中部 (2) 测量和记录跳动值。
8.
对于单件式传动轴系统,转至步骤 10。
9.
对于两件式传动轴系统,执行下列转向节轮轴的检查和测量。
9.1
在每个含有滑叉的传动轴端部作装配标记,然后拆下传动轴。
9.2
检查传动轴支撑轴承总成 (2) 的橡胶件是否损坏、轴承是否磨损或支架是否损坏/裂纹,这些故障可能会影响传动轴的跳动量。
9.3
如果支撑轴承总成出现上述任何迹象,在继续操作前就需要更换。
9.4
检查支撑轴承总成 (2) 是否松动或缺失垫片/垫圈(如装备)。如有必要,重新正确安装或更换垫片/垫圈,以确保支撑轴承总成的正确定位。
9.5
将
GE-7872
磁性座千分表组件
或同等工具 (1),或
GE-8001
千分表组件
或同等工具 (1),定位在离转向节轮轴 (3) 末端约 13 mm (½ in) 处。
9.6
记录转向节轮轴花键的跳动量测量值。
10.
将记录下的传动轴跳动测量值与跳动量公差规格作比较。参见
传动轴径向跳动规格
。
11.
如果传动轴系统在变速器或分动箱输出法兰处有万向节,如果传动轴在该位置或在前传动轴转向节轮轴上跳动量的测量值超过跳动量公差规格,则执行以下步骤:
11.1
检查变速器或分动箱输出轴挠度是否指示衬套磨损或损坏,这可能影响传动轴的跳动量。
变速器或分动箱输出轴密封件泄漏,可能表示输出轴衬套有问题。
11.2
如果发现变速器或分动箱输出轴衬套磨损或损坏,则在继续操作前,需要更换衬套。
11.3
如果变速器或分动箱输出轴衬套已更换;则在原先测量位置上重新测量并记录传动轴的跳动量。
11.4
将重新测量的传动轴跳动量与跳动量公差规格作比较。
11.5
如果在同一位置或前传动轴转向节轮轴上,重新测量的传动轴跳动量仍然超过跳动量公差,则在继续操作前需要更换传动轴。检查更换后的传动轴的跳动量。
11.6
如果变速器或分动箱输出轴衬套没有发现磨损或损坏,则在继续操作前,需要更换传动轴。检查更换后的传动轴的跳动量。
12.
如果传动轴系统在驱动桥小齿轮或扭矩管输入法兰处有万向节,如果传动轴在某一位置或在后传动轴转向节轮轴上跳动量的测量值超过跳动量公差规格,则执行以下步骤:
•
在传动轴的每一端作装配标记,然后将传动轴从小齿轮输入法兰或扭矩管输入法兰上拆下。
•
将传动轴从其原位置转动 180 度。
•
将传动轴重新安装至小齿轮输入法兰或扭矩管输入法兰。
•
在原先测量位置上,重新测量并记录传动轴的跳动量。
•
将重新测量的传动轴跳动量与跳动量公差规格作比较。
•
如果重新测量的跳动量仍然超过跳动量公差,则执行以下步骤:
–
检查小齿轮输入法兰或扭矩管输入法兰跳动量,以确定其是否影响传动轴的跳动量。参见相应的程序:
扭矩管输入法兰跳动量的测量
,或
差速器锥齿轮输入轴跳动量的测量
。
–
如果小齿轮输入法兰或扭矩管输入法兰跳动量超过跳动量公差,在继续操作前,法兰必须重新定位或更换,以使跳动量在公差范围内。
–
如果小齿轮输入法兰或扭矩管输入法兰已经重新定位或更换,在将传动轴重新安装至法兰上时,让传动轴恢复到它原来的位置。
–
如果小齿轮输入法兰或扭矩管输入法兰跳动量的首次测量值在公差范围内,则需要更换传动轴。检查更换后的传动轴的跳动量。
–
如果小齿轮输入法兰或扭矩管输入法兰已重新定位或更换,则在原先测量位置重新测量和记录传动轴的跳动量。
–
将重新测量的传动轴跳动量与跳动量公差规格作比较。
–
如果重新测量的跳动量仍然超过跳动量公差,则将传动轴拆下,从原位置向已经重新定位或更换的小齿轮输入法兰或扭矩管输入法兰位置转动 180 度。
–
重新安装传动轴,然后在原先测量位置上,再次测量和记录传动轴的跳动量。
–
将重新测量的传动轴跳动量与跳动量公差规格作比较。
–
如果重新测量的传动轴跳动量仍然超过跳动量公差,则传动轴需要更换。检查更换后的传动轴的跳动量。
13.
对于两件式传动轴系统;如果在焊接万向节叉接合到滑叉处,传动轴跳动量的测量值超过该位置传动轴跳动量公差规格,执行以下步骤;
13.1
如果转向节轮轴已调节以确保滑叉的正确定位,则传动轴需要更换。
13.2
如果转向节轮轴未调节,在传动轴的每个端部作装配标记,然后将滑叉从转向节轮轴上拆下。
13.3
将传动轴从其原位置转动 180 度。
13.4
将滑叉重新安装至转向节轮轴上。
13.5
在焊接万向节叉至滑叉的位置上,重新测量并记录传动轴的跳动量。
13.6
将重新测量的传动轴跳动量与跳动量公差规格作比较。
13.7
如果在焊接万向节叉接合到滑叉的位置上,重新测量的传动轴跳动量仍然超过跳动量公差,则传动轴需要更换。检查更换后的传动轴的跳动量。